收購相機 高價收購相機 回收收購相機 相機 相機回收 二手相機 全新相機

Nikon 一項關於相機搭載空氣冷卻風扇的專利申請日前正式曝光。不僅顯示 Nikon 正在積極優化專業級機身的熱管理系統,也讓外界紛紛猜測,未來是否會有更高階、甚至專為錄影設計的 Z 系列機型問世。
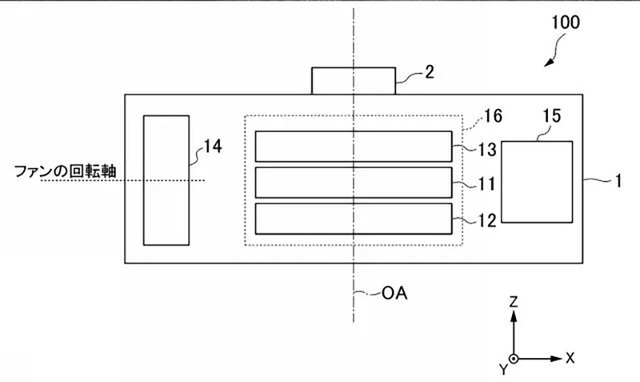
從下而上的散熱邏輯
根據最新公開的專利文件(公開編號 P2026053524),Nikon 提出了一套整合於機身內部的主動式放熱系統。這套系統的核心在於「垂直風道」的設計:當攝影師以橫向姿勢握持相機時,冷空氣會從機身底部吸入,經過內部發熱組件後,再由機身上方排出。這種煙囪式的散熱效應,能有效帶走影像處理器與感光元件運作時產生的大量熱能。



兼顧握持手感與結構空間
在專利的細節中,Nikon 特別強調了放熱單元的配置位置。為了確保攝影師在手持拍攝時不會因接觸到出風口而感到不適,風扇與散熱孔位被巧妙地安排在手指不易觸及的區域。同時,內部採用了高效能的傳熱元件,將處理單元的熱量引導至前蓋上方的散熱區塊,並沿著與主機版垂直的平面佈置空間,以維持機身的緊湊性。
未來的專業級機身想像
目前 Nikon 的旗艦機種如 Z9、Z8,以及主打專業錄影的 ZR,雖然已透過優異的被動散熱設計實現了長時間錄影,但若要進一步挑戰更高位元的 RAW 紀錄或是在極端環境下穩定運作,主動式散熱似乎是必然的演進方向。雖然這項專利目前仍處於申請階段,但它明確揭示了 Nikon 對於未來高功能、高性能無反相機的技術儲備。
市場展望與可能的產品定位
回顧市場現況,對手品牌如 Panasonic、Sony、Canon 已在部分主打錄影的機種中加入風扇。Nikon 此次專利的流出,或許暗示著未來可能推出如 Z9 II 或更偏向 Cinema 攝影機產品線(如 ZR II)的新機。對於追求極致穩定性的專業攝影師來說,主動式散熱雖然可能稍微增加機身厚度,但能換取更長的拍攝效能,絕對是利大於弊的選擇。
轉載源自digiphoto
優酷3C收購網 實體店面 免費估價 現金收購
收購相機 高價收購相機 回收收購相機 相機 相機回收 二手相機 全新相機
加入官方LINE 線上估價 ⇓⇓⇓⇓⇓⇓⇓⇓⇓

